lourd – avec levier Ă main solide – pince de traction et de poussĂ©e – (tige de poussĂ©e et levier Ă main synchronisĂ©s) – avec long guide de tige de poussĂ©e – base en fonte mallĂ©able, brunie – boulons trempĂ©s – pièces de levier et tige de poussĂ©e en acier trempĂ©, brunies – poignĂ©e en plastique rouge rĂ©sistant Ă l’huile – complet avec vis de pression galvanisĂ©e et durcie –
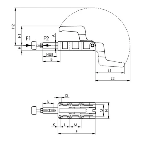
caractĂ©ristiques techniques A. supplĂ©mentaires : 25mm – D : 10,5mm – Vis de pression : M12 x 50 – L2 : 183,5mm – G : 54mm – L1 : 151,5mm – H1 : 93,5mm – F1 : 25kN – H2 : 196mm – L : 45mm – Type : levier solide – F : 198mm – B : 114mm – K : 12mm – E : 50mm – M : 45mm – H : 22mm – N : 84mm – Course : 75mm
EAN / GTIN : 04020772092580












Avis
Il n’y a pas encore d’avis.